产品详情
R16假人是一种用于汽车碰撞模拟实验中安全带动态测试及研发的专业假人,代表50百分位成年男性。假人设计考虑了人体质量分布和外形尺寸,配合碰撞台或座椅加载装置,可用于评估安全带约束性能及乘员伤害。该假人适用法规包括 GB 14166-2013 和 ECE R16。
应用范围:
汽车安全带动态性能测试;
汽车座椅约束系统研发与验证;
汽车正面碰撞及模拟实验研究;
安全带优化设计及乘员伤害评估;
法规测试,包括 GB 14166-2013 和 ECE R16 标准。
测试标准:
GB 14166-2013 机动车乘员用约束系统碰撞试验用假人
ECE R16 机动车辆安全带和约束系统认证的统一规定
ISO 15830 道路车辆——用于约束系统评估的侧面碰撞假人
产品规格:


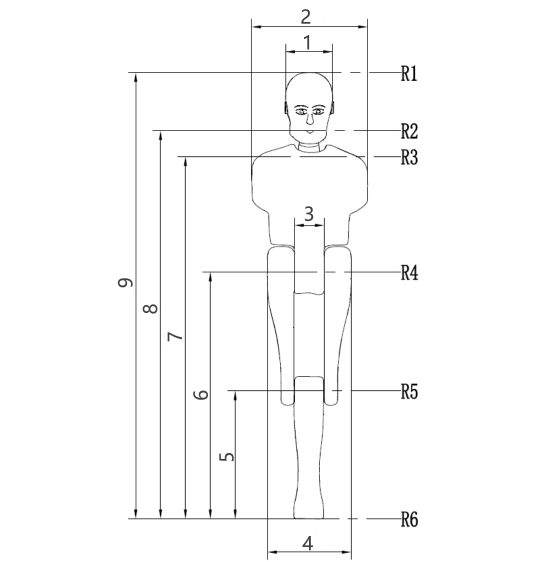
R1:头部高度
R2:顶轴点,头螺栓中心
R3:链条的中线与上躯干上端面
R4:髋关节,髋关节张紧螺栓中心
R5:膝关节,膝关节张紧螺栓的中心
R6:脚底
| 序号 | 测量参数 | 尺寸(mm) |
| 1 | 头部宽度 | 160±5 |
| 2 | 肩部宽度 | 465±5 |
| 3 | 髋关节位置躯干宽度 | 120±5 |
| 4 | 髋关节宽度 | 340±5 |
| 5 | 膝关节中心距脚底高度 | 510±10 |
| 6 | 髋关节中心距脚底高度 | 990±10 |
| 7 | 躯干上部平面距脚底高度 | 1470±10 |
| 8 | 头部螺栓中心距脚底高度 | 1600±10 |
| 9 | 头顶距脚底高度 | 1750±10 |
| 10 | T点高度 | 720±5 |
| 11 | P点高度 | 320±5 |
质量分布:
| 序号 | 组件 | 质量(kg) |
| 1 | 头部总成 | 4.0±0.2 |
| 2 | 颈部总成 | 0.7±0.1 |
| 3 | 躯干总成 | 29.7±1.0 |
| 4 | 大腿总成(左/右) | 12.3±0.3 |
| 5 | 小腿总成 | 8.4±0.3 |
| 6 | 髋关节 | 3.1±0.1 |
| 7 | 膝关节总成 | 1.1±0.1 |
| 8 | 外套+胸垫 | 1.1±0.1 |
| 9 | 包含校正质量的总质量 | 75.5±1.0 |
传感器配置:
| 安装位置 | 传感器名称 | 通道 |
| 胸部 | 拉线位移传感器 | 1 |
| 臀部 | 拉线位移传感器 | 2 |
产品特点:
(1) 模拟50百分位成年男性人体质量分布及外形尺寸
(2) 模块化设计,可更换大腿、小腿及躯干部件
(3) 去除前臂并保留单小腿设计,专用于安全带约束动态测试
(4) 胸前配备柔软胸垫,增强安全带加载仿真效果
(5) 符合法规 GB 14166-2013 与 ECE R16,可用于标准认证实验
(6) 金属骨架与聚氨酯包覆,兼顾强度与仿真度
测试原理:
R16假人通过金属骨架模拟人体骨骼,聚氨酯包覆模拟肌肉和皮肤。在安全带加载实验中,假人胸部、臀部及腿部承受的力通过胸垫和膝关节传递,胸前拉线位移传感器和臀部拉线位移传感器记录位移数据,从而评估安全带约束系统在动态条件下的效果。
操作说明:
假人组装前检查各连接件、螺栓及关节完好;
确保胸部柔软垫和外套完整覆盖假人;
按标准 GB 14166 或 ECE R16 试验要求安装安全带并调节假人坐姿;
数据采集设备连接正确,拉线位移传感器状态正常;
每次实验后检查假人组件及校正质量,确保后续试验精度。
工厂展示
我司上海泛标从事研发生产材料物理性测试设备已30年,是汽车内外饰件、纺织材料、橡胶、塑料、电线电缆等行业测试试验机厂商中具有代表性的厂家之一。 上海泛标研发生产的氙灯老化试验机、日晒色牢度测试仪、耐光照老化试验箱、汽车非金属材料耐刮擦仪、雾化测试仪等试验设备,市场认可度高,出口销往欧洲、美洲等很多国外市场。 上海泛标厂家具有稳定可靠的研发团体,完善的售后服务体系,生产的测试设备质量过硬,试验结果精准,采购案例众多,诸如国家实验室、第三方检测机构、主流汽车主机厂、科研所等资深单位采购我司的测试设备。 上海泛标作为材料测试设备生产厂家,与时俱进是核心发展理念,紧跟国内外新标准试验方法要求,开发适用的材料试验机,旨在用心对测试设备需求方提供全面解决方案。
选择我们的理由
1、我们有专业的售前工程师,在您购买之前能根据您的需求制定个性化解决方案,我公司可以针对部分产品进行定制化生产。
2、我公司产品性价比高、种类齐全、相关配件与耗材库存充足、货期快。
3、我们在全国各地区建立了完善的售后服务机制,从安装、维修、培训到各个环节,包括您的使用人员离开后可以进行第二次培训,确保您购买我司产品不必为售后担忧。
4、用户认可度高。我公司拥有12年行业经验,紧跟行业标准、产品畅销至东南亚20多个国家广受用户的认可,我们不仅为您提供高品质、高性价比产品,同时为您提供一站式解决方案,资深工程师为您带来的附加价值远超同行。











