最新资讯
织物透气性能的研究与测试
日期:2015-04-28|作者:admin |人气:
一、织物透气性测试的意义人体穿着服装,除了可以给人以装饰美外,其主要目的是保持人体与周围环境之间的能量交换平衡。当周围环境变化时,利用增减服装来调节能量平衡,可保持人体皮肤的环境温度相对稳定。
为了研究织物在人体-服装-环境系统中直到的重要调节作用,就需要测量织物的通透性。所谓通透性,是指热、湿(液相气相)、空气(气流)等通过织物的难易程度,这种性能随着使用的目的不同而异。人体是一个有机体,不断进行着新陈代谢,来维持皮肤表面温度恒定。此时,人体皮肤表面不断向环境散发热量和湿气。湿气包括两方面内容,其一是在人体静止条件下,通过无感排汗向环境蒸发的湿气(气相);另一方面是在人体运动的条件下,通过不感排汗向环境散发湿气(液相)。为此,就需要测定织物的保暖性、透水性、吸湿性、透气性等,依次来间接反映服装在穿着时的舒适性能。
作为服装,需视季节、体质、个人爱好等不同而选用不同织物,如内衣应用吸湿透湿性好而具有保暖性的织物,而外衣应选用透气性小且具有适当透湿性的织物。作为工业用的织物,要求织物的通透性好,而特殊用途的产品,如降落伞产品对透气性方面较高,雨伞产品要求透水性方面较高,蓬帆布除应具有坚牢耐用外,还应有防水的特性。空气透过织物的能力称为织物的透气性。它直接影响到织物的服用和使用性能。如夏季用的织物希望有较好的透气性,而冬天用的织物外衣透气性应该较小,以保证衣服具有良好的防风性能,防止热量的大量散发。对于国防及工业上某些用途的织物,透气性更具有十分重要的意义,如降落伞的透气性要适中,过大下降速度太大,过小下降速度过慢。因此,织物的透气性的好坏与织物的服用使用性能有密切的关系。
防水透气面料可以防止液体水的渗透,同时可以让水蒸汽顺利通过。此类面料用途广泛,从普通的户外运动服到用于医疗和军事的专业防护服都有防水透气面料的应用。为防止液体水的渗透,此类面料通常需要进行后整理、涂层或者层压薄膜等处理,但这些处理可能阻止汗液的蒸发,从而导致穿着者的不舒适和生理疲劳。因此,透气性是防水面料测试的主要项目之一。
随着人们生活水平的提高,对织物的服用舒适性能要求日益提高,因此,作为织物舒适性能重要组成部分的透气性也显得越来越重要,其性能的检测与评价方法也相应的更加重要。
二、织物透气性的影响因素
影响织物透气性的因素很多,有纤维的截面形状、纱线的细度与体积重量、织物的组织材料、结构、表面特征、加工方式与以及染整加工工艺条件等等,具体见表1。
表1 织物透气性影响因素
| 影响因素 | 影响结果 |
| 织物材料 | 透气性能从大到小依次为:麻>棉>羊毛>涤纶>尼龙 |
| 织物组织结构 |
透气性关系为:透孔织物>缎纹织物>斜纹织物>平纹织物; 经纬纱纱支不变,经密或纬密增加,透气性下降; 纱线的捻度增加,透气性提高。 |
| 后整理方式 | 织物经柔软、液氨柔软、免烫、液氨免烫、液氨潮交联和三防等后整理,其透气性大小为:液氨整理>普通柔软和免烫整理>三防整理。 |
| 水洗次数 |
前5次洗涤过程中,织物的透气性依次降低;洗涤5~100次,织物透 气性变化较小,趋于稳定;其中洗涤30次以上,织物的透气性有略微增加的趋势。 |
| 烘焙 | 焙烘后织物的透气率均比焙烘前有所增加,这是因为焙烘前浸轧在织物上的助剂并未发生交联,覆盖在纤维及纱线之间,阻碍空气的流通。 |
三、织物透气性能的国内外研究现状
织物的透气性是指在一定的压差下,单位时间内渡过织物单位面积的空气体积(其单位为m2·s)。一般的服装面料都有一定的透气性,因为人体时刻都在呼吸,而服装面料的透气性恰好为人体皮肤与外界进行气体交换提供了通道。同时,服装面料的透气性也有利于人体热量的发散,从而使人体保持舒适。
影响织物舒适性的另一个重要因素是织物的透气性。运动服、防风防寒服均对织物透气性有较高要求。有些工业纺织品如飞机降落伞、滤布等对织物透气性有特殊要求。织物透气性决定于织物中经纬纱线间以及纤维间隙的数量与大小,亦与经纬密度、经纬纱线特数、纱线捻度等因素有关。此外还与纤维性质、纱线结构、织物厚度和体积重量等因素有关。衣着用织物在穿着中的透气性还受到外界大气因素的影响,一般气温升高,透气性下降,风速增加,则透气性增大。
织物透气性的研究开始于卫生面料应用的十九世纪。通过多孔介质研究透气性的结果,Darcy建立了依据压降所得出的与透气之间的线形关系,个研究织物透气性的Rubner正是以Darcy的规律为依据。接下来的研究是由Rekk,Florinskii,Fochheimer,Khanzhonkov和Zelenko探索了气流通过多孔材料的通过率,这项研究显示了由压差决定的渗透性不再随着过滤速率的提高而呈现线形变化。应用到纺织材料上,这种现象在Rakhmatullin的研究和他提出的等式中有所反映。Arkhangel对纺织材料透气性做了大量系统的研究,引进了一个现在常用的特征值-透气系数,并提出根据他们的透气性不同对纺织品进行分类。织物不同特征结构对他们透气性的影响已经由Clayton、Keswell、Hearle等人研究出来。
四、透气性的理论研究
气体通过织物有交织孔隙和纤维间缝隙两条途径,一般以交织孔隙为主要途径。纱线间的孔隙大都是贯通的,孔隙截面形状基本上有一定的规律性,从织物一侧到另一侧,孔隙呈瘦角方形,当空气透过织物时,类似于流体流经多孔介质的流动。织物的孔隙结构可以简化成平行毛细管束模型,见图1,从而织物多孔结构可以模拟为许多毛细管的平行集合体。

图1 “毛细管”平行集合体模型
按流体力学理论,空气通过圆管时,层流的流量q(m3/s)可用哈根-伯肃叶(Hagen-Poiseuille)定律计算
(1)
式中,Δp为管两端的压力差(Pa);L为管的长度(m);d为管的直径(m);μ为空气的动力粘度(Pa·s)。
运用上式(1)中计算织物的透气量,基于对织物作出的两点假设:1)纱线内纤维紧密结合且纱线在织物中均匀分布;2)织物中纱线间的空隙截面是矩形。
考虑到等式(1)中有n个气孔,等式(1)变为:
(2)
现有的估算纤丝间的织物透气性的方法主要有三个:
——计算(方法1),在等式d=0.0357(T/ρH)1/2中确定纱线的直径,用线密度T和平均密度Pn,接下来在等式(1)中计算透过率Rs:
Rs=1-(dwa∏wa+ dwe∏we -10-2 dwa dwe∏wa∏we) (3)
其中,dwa是经纱直径,dwe是纬纱直径,∏wa是经纱间气孔周长,∏we是纬纱间气孔周长。
——精密计算(方法2):从织物中分离出的纱线直径在光学显微镜下测出,透过率在等式(3)中计算出来。
——投影法(方法3):基于扫描电子显微镜下织物样品的显微照片。相关气孔直径dh在著名的水力动力学等式中计算。
dh=4S/∏ (4)
其中,S是气孔直径,S=ab,a=100/∏wa- dwa,b=100/∏we- dwe,∏=2(a+b)
在确定织物孔径大小的方法中,RS和dh值与用其他方法获得的值有显著的不同,时常比用其他的方法获得的值要高一些。这是因为织物结构中纱线光滑和起毛的因素并没有考虑到(方法的使用是基于纱线横截面是圆形的设想),并且用常规平均密度值来计算纱线直径,和真实值并不一样。
以方法2为基础确定的RS和dh值比方法1更可靠一些,但测得的结果也有显著的不同。
当织物透气性与织物中纱线横截面大小和纱线的起毛(不影响气孔)有关时,方法2测得Rs的一个小缺陷是由于在不同截面抽出织物结构和测量纱线直径时纱线横截面开关的改变,而使数值发生了变化。方法3允许在织物纱线平面受压和他们的起毛情况下,测量透气性的真实值,部分覆盖气孔的纱线表面的单根纤维并不存在重要的阻力,所以以此方法获得的Rs值比在气体流动条件下织物中测得的真实值要小一些。
国际上认为目前对织物透气性的研究所受的局限主要在三个方面:描述由气体结构而决定的透气性模型没有充分考虑到材料结构因素,其认可领域有一定的限制;测试透气性所用的方法并不能保证材料测试条件和他们的使用条件一致;根据人们对透气量的不同要求设计透气性织物在目前是不太可能的。
四、织物透气性测试基本知识
1. 基本原理
所谓织物透气性,是指织物两面存在压差的情况下,织物透过空气的性能。即织物两面在规定的压差下,单位时间内流过织物单位面积的空气体积,单位为L/(mm2·s)。因为压差是空气赖以流动的必要条件,只有在被测织物两面保持一定的压差,才能在织物中产生空气流动。
2. 主要测试标准
透气量的测试是按固定压差作为透气量试验的基准。各国试验标准规定的压差并不一致,例如美国ANSI/ASTM、K773、FS191/5450及日本的JISL1096规定为127.4Pa(13mm水柱);法国NFG07-111规定为196Pa(20mm水柱);德国DIN 53387 规定服装织物为100Pa(10mm水柱)、降落伞织物为160PA(16mm水柱)、过滤织物及工业用织物为200Pa(20mm水柱);英国BS5636规定为98Pa(约10mm水柱)等;我国标准GB/T 5453-1997《 纺织品 织物透气性的测定》规定为服用织物100Pa(约10mm水柱)、产业用织物为200Pa(20mm水柱)。
3. 测试方法
不同织物的透气性要求有很大不同,即使同一织物,由于使用要求不同,织物两面压差情况往往是不同的,故应根据织物自身材料的特性、使用要求的不同,而选用不同的压降来进行测试。
常用织物透气性测试仪基本的测试方法是在一定的压力差下气体通过已经面积的织物,测试气流流量,从而得出织物的透气率。大部分的服用织物可以认为是相对稀疏的,测试使用的压力要求比较低,在这个低压水平下习惯上用真空泵抽出空气来达到要求的的压力差,从流量计上读出气体流量。普遍使用的Gellowen G021织物透气性测试仪就采用这种测试方法。
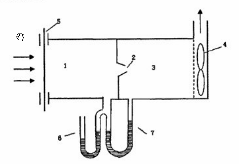
织物透气量仪测试示意图如图2如示,1、3为两个空气室,试样5置于空气室1的前面。当排气风扇4转动时,空气即透过试样5进入空气室1和3。空气在通过气孔2时,由于截面缩小,即引起静压降落,其数值可在压力计7上读取。织物两侧的压差可从压力计6读出。待压力计示数稳定后,读取数据,经查表,求出相应的透气量值。

图2 织物透气率测试
织物透气性测试仪的测试原理是根据不同织物选用相应的口径,利用排气风扇抽取空气,使得织物两侧达到要求的压力差,产生稳定的气流通过织物,适用孔板节流原理测试出气体的流量,从而得到织物的透气量。G021型织物透气性测试仪是测试在稳定的压力下,织物透过稳定的气流时的透气情况。目前透气性测试仪不断更新换代,新一代数字式透气性测试仪从测量精度和测试压力范围都得到提高,但是,从测试方法和原理上看,仍然是准定常态,是静态的测量。
4. 透气性测试的关键技术
透气性测试仪的关键技术是压力和流量的测量。G021型织物透气性测试仪采用孔板流量计测量气流。U形管测量气压。
孔板作为流量计装置已经有超过100年的历史,许多国家与国际标准的颁布都以它为首。在狭窄的管道中适用孔板作为阻塞板进行测量,并迫使流动物质受到挤压。充满管道的流体,当它流经管道内节流件时,流束将在节流件处形成局部收缩,静压力降低,于是在节流件前后便产生了压差,流体流量愈大,产生的压差愈大,因而可依据压差来衡量流量的大小。在许多装置中,孔板流量计的应用是很普遍的。也有一些织物透气性测试仪器采用文丘里管等测量流量。文丘里管与孔板相比压力损失小,寿命长。
无论是孔板节流装置还是文丘里管节流装置,测量方法均是以流动连续性方程(质量守恒定律)和伯努利方程(能量守恒定律)为基础的,适用于测量稳定的气流。使用标准节流装置进行流量测量时必须满足以下条件:
(1)被测介质充满全部管道截面,并沿着内径不小于50mm的圆形管道流动;对文丘里管,其管径不应小于100mm亦不应大于800mm。
(2)管道内的流束是稳定的,或者实际上可以认为是稳定的(当流束稳定时,在同一点上流速和压力不随时间而变化。)
(3)被测介质通过节流装置时,其相态不变(例如:液体不蒸发,过热蒸汽仍然是过热的,溶解在液体中的气体不析出等),同时是单相存在的。对于成分复杂的介质,只有其性质与单一成分的介质类似时才能使用。
在织物透气性测试仪上,水银压力计用来测量气室内的压力大小,待压力计示数稳定后,读取数值,每次实验只能得出一个结果。这种测量压力的装置无法实现实时瞬间测量。
传统透气性测试仪中,无论是气体压力的测量不是流量的测量,都是适用于对定常态气体。一些织物在应用过程中(如安全气囊织物在展开过程中),气体压力是不断变化的,而且变化的范围大,历时短,定常态下静态测试织物的透气性并不能反应出织物的使用性能。
除此之外,传统透气性测试仪采用抽真空的方法,在织物两侧形成一定的压力,压力范围很小,当压力水平达到或超过了真空泵所承受的压力时,这种方法显得无能为力。织物中压透气性测试高只能测量3000Pa。传统的测量方法难以达到一些特殊织物的实际工作时压力。
五、国内外常用织物透气性测试标准和方法
1. 透气性测试标准介绍
纺织品的透气性是影响织物性能的重要因素之一。服用、装饰用织物等的舒适性能与织物的透气性有很大关系。一些工业纺织品,如飞机降落伞、滤布以及安全气囊织物也必须遵守一定的透气性要求,才能更好的发挥作用。
目前,国外的透气性检测方法主要有:
ISO 9237-1995(主要应用于纺织织物、产业用布、非织造布上);
ISO 7229-1997(主要应用于橡胶或塑料涂层织物);
ASTM D737-2004(2012)(主要应用于纺织织物);
BS 5636-1978(主要应用于纺织织物);
JIS L1096-1999(主要应用于纺织品)。
其中,ISO 9237和ASTM D737两项标准方法应用为广泛。
我们国内对织物透气性的测定方法,应用较为广泛的标准是GB/T 5453-1997(等效采用ISO 9237-1995),该标准适用于多种纺织织物,包括产业用织物、非织物布和其它可透气的纺织产品。在测试时通过不同的压降对服用织物与产业用织物进行了细微区分,服用织物压降选择100Pa,产业用织物压降为200Pa。GB/T 5453-1985《织物透气生试验方法》中以透气量(是指织物两面在规定的压力差下,单位时间内流过织物单位面积的空气体积)衡量织物透气性的指标,修订标准GB/T 5453-1997采用透气率(是指在规定的试样面积、压降和时间条件下,气流垂直通过试样的速率)表示织物的透气性能。
而ASTM D737与上述两项标准在适用范围、温湿度、测试面积、压力差等方面有所差异。考虑到进出口纺织品贸易的实际情况,拟选用不同的样品对ISO 9237和ASTM D737的具体温湿度、测试面积、压力差,等条件进行对比探讨,选择出具适用性和代表性的条件,建立适合进出口贸易的行业标准。
2. 透气性测试标准比较
目前,常用的透气性测试标准主要有ASTM D737-2012《纺织品透气性测试方法》,ISO 9237-1995《纺织品 织物透气性的测定》,GB/T 5453-1997《纺织品 织物透气性的测定》和JIS L1096-1999《纺织品透气性测试方法》。其中,GB/T 5453-1997等效于ISO 9237-1995。
JIS L1096-1999分为A法和B法,A法采用弗雷泽型(Frazir)透气度测试仪,压差为125Pa,测量5次求平均值;B值采用格利型(Gurley)透气度测试仪,测量在特定压差下,300ml空气透过织物所用的时间,透气率用时间来表达,单位为秒,此法适用于毛织物。由于JIS L1096要求采用特定的仪器,因而在日常检测中并不常用在下文的条件探讨中,不考虑该标准。
主要针对为ASTM D737-2012和ISO 9237-1995,下面对两种测试方法进行比较,两种标准的具体条件对比见表2。
表2 ASTM D737-2012和ISO 9237-1995检测差异对照表
| 测试标准 | ISO 9237-1995 | ASTM D737-2012 |
| 单位 | mm/s或m/s | cm/s |
| 使用范围 | 适用于多种纺织品,包括产业用纺织品,非织造布和其它可透气的纺织品 | 适用于多数纺织品,包括机织物,非织造布,充气袋用布,地毯、起毛起绒织物、针织物和多层织物;测试织物可以是未经整理的,也可以是经重度上浆、涂层、树脂整理或其它整理。 |
| 测试面积/cm2 | 5,20,50,100 | 5,6.45,38.3,100 |
| 压力差 | 50-500 | 100-2500 |
| 常用参数/Pa | 100Pa(服装面料),200Pa(工业织物),20cm2 | 125Pa,38.3cm2 |
| 预调温、调湿试验条件 | (20±2)℃,65%±2% | (21±1)℃ |
表3 ASTM D737-2012和ISO 9237-1995抽样和取样差异对照表
| 测试标准 | 抽样 | ||||||||||||
| ISO 9237-1995 |
|
||||||||||||
| ASTM D737-2012 |
|
||||||||||||
| 测试标准 | 取样 | ||||||||||||
| ISO 9237-1995 | 从批样的每一匹中剪取长至少为1m的整幅织物作为实验室样品,注意应在距布端3m以上的部位随机选取,并不能有折皱或明显疵点。 | ||||||||||||
| ASTM D737-2012 |
|
对于进出口贸易来说,抽样的代表性至关重要,因此系统内部也对纺织品和服装的抽样均制定了行业标准,为了更好的适应进出口纺织品的具体情况,抽样的原则引用SN/T 3702《进出口纺织品质量符合性评价抽样方法》,该标准包括7个部分分别为:
——第1部分:通则;
——第2部分:纺织原料;
——第3部分:纺织纱线;
——第4部分:纺织织物;
——第5部分:纺织制品;
——第6部分:服装;
——第7部分:特种纺织品。
可以满足各种需求,比ASTM D737-2012和ISO 9237-1995的规定更为具体和全面。
在取样方面,ISO 9237-1995的规定较为笼统,仅表示测试部位随机选取。ASTM D737-2012的规定具体但是特别规定了样品的裁剪。从透气性测试本身的需要和客户成本需求,进行无损检测更为合适,没有必要对样品进行裁剪。
六、透气性测试仪器设备
织物透气性测试仪器国际上主要有FF-12(匈牙利),VPTM-2(俄罗斯),Shirley透气仪(英国),其中VPTM-2适用于研究气体透过织物的流动特征。VPTM-2和Shirley透气仪测得结果的一致性已经确定。在这些仪器中,透气性结果测量的比率范围0.83≤BVPTM/BShirley≤1.07,BVPTM/BShirley的平均值约等于0.96。从FF-12和Shirley透气仪测得的结果比率范围0.93≤BFF/BShirley≤1.61, BFF/BShirley的平均值约等于1.32。数据的相关系数值是:RFF and Shirley=0.98,RVPTM and Shirley=0.99。
国内透气仪主要有Y561、YG461A、KESF-AP1、YG(B)401D-Ⅱ、FX 3300型。YG461系列主要用于测试一般的机织物,针织物,特种工业用织物及非织造织物的透气性,可也用于测试造纸行业中空气滤芯纸,工业滤纸,复膜材料等非纺织物,及其它片状材料的透气性。YG(B)401D-Ⅱ型数字织物透气量仪是国内目前使用较多的仪器,它主要用于各类机织物,针织物,非织造物及工业滤纸等有透气量要求的项目测定。FX3300型透气应用也较为普遍,主要可应用于紧密涂层织物、无纺布、非常疏松的造纸毛毡、玻璃纤维、空气滤清器等。其测试原理是:使用织物透气仪测定织物在一定压力差条件下,单位时间内通过织物的空气量,从而求得织物的透气性能。一般透气仪测定织物在一定压力差条件下,单位时间内通过织物的空气量,从而求得织物的透气性能。一般透气量越大,织物的透气性越好;在透气量相等的情况下,织物两端的压力差越大,织物的透气性越差。
根据纺织品检测的情况来看,采用以上仪器设备均能满足目前透气性测试的需求,不同设备的测试结果之间没有显著差异,因此在标准中不需要对仪器进行特定的规定,只要能满足标准的条件,即可进行透气性测试。
我公司开发的Gellowen G021透气性测试仪,具体外观见下图3,具体参数见下表4。

图3 Gellowen G021透气性测试仪
表4 Gellowen G021技术参数
| 技术指标 | 参数 |
| 测试头面积 | 5cm2、20cm2、25cm2、38cm2、50cm2、100cm2 |
| 测试模式 | 自动 |
| 测试压力 | 10-3000Pa |
| 气流 | 0.1-40,000mm/s(5cm²) |
| 测试时间 | 5-50秒 |
| 停止时间 | 3秒 |
| 总测试时间 | 10-58秒 |
| 小压力 | 1Pa |
| 大压力 | 3000Pa |
| 精确度 | ±2% |
| 测量单位 | mm/s,cfm,cm3/cm2/s,l/m2/s,l/dm2/min,m3/m2/min 和m3/m2/h |
| 数据接口 | RS232C,异步,双向作用 |
| 特点 |
压力系统可自动检测气压的范围,并可测试大面积样品;功能强大具有消声装置的抽吸泵; 仪器可自动探测测试头面积、自动选定测试孔大小、自动控制风机抽力大小; 具有自编程功能,客户可根据需要自己编写程序; 具备气流初调及细调开关,自动切换,全封闭管道设计,漏气量小于0.1 l/m2/s |
更多关于 透气性测试仪:http://www.standard-groups.cn/a/zwjfz/
相关新闻
- 24-01-04■雷达液位计的原理
- 24-01-04■音量检测仪的工作原理
- 24-01-04■逻辑分析仪的工作原理
- 24-01-04■氦质谱检漏仪的原理
- 24-01-04■供水变频器的运行原理
- 24-01-02■超声波料位计的原理特点
- 24-01-02■医用培养箱的原理和结构
- 24-01-02■感应电度表的测量原理















